دانلود شبیه سازی مقاله کنترل فرکانس بار در سیستم قدرت با بهینه سازی گرگ خاکستری
| عنوان فارسی |
کنترل فرکانس بار در سیستم قدرت به هم پیوسته با استفاده از بهینه سازی گرگ خاکستری |
| عنوان انگلیسی |
Load frequency control of interconnected power system using grey wolf optimization |
| کلمات کلیدی |
کنترل فرکانس بار؛ محدودیت نرخ تولید؛ بهینه سازی گرگ خاکستری؛ تحلیل حساسیت؛ تحلیل گذرا |
| درسهای مرتبط |
الگوریتم های بهینه سازی؛ دینامیک سیستم های قدرت |
| تعداد صفحات انگلیسی : 19 | نشریه : ELSEVIER |
| سال انتشار : 2016 | تعداد رفرنس مقاله : 40 |
| فرمت مقاله انگلیسی : PDF | نوع مقاله : ISI |
| آیا این مقاله برای بیس پایان نامه مناسب است؟ : بله | آیا این مقاله برای ارائه کلاسی مناسب است؟ : بله |
| برنامه ای که در آن مقاله شبیه سازی شده است : این مقاله در محیط متلب پیاده سازی شده است | نام مجله مقاله : Swarm and Evolutionary Computation (رایانش تکاملی و ازدحامی) |
| ترجمه: ندارد | گزارشکار : دارد (فایل راهنمای 5 صفحه ای) | شبیه سازی : دارد (فایل های شبیه سازی در متلب با فرمت .m و .slx) |
این مقاله در محیط متلب به صورت کامل شبیه سازی شده و در صورت خرید و دانلود مقاله شما به راحتی قادر خواهید بود از برنامه مربوطه استفاده نمایید. در صورت بروز هر گونه مشکل در نحوه ی اجرای برنامه سایت سیگمالند به مدت 24 ساعت بعد از خرید محصول، پشتیبانی آن را تا اجرای کامل برعهده دارد.
کنترل فرکانس با الگوریتم گرگ خاکستری
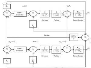
بخاطر اهمیت توزیع توان الکتریکی، شرکت های برق مسئول فراهم نمودن برق قطع ناپذیر، قابل اطمینان، کارآمد و موثر برای مشتریانشان با کیفیت قابل قبول می باشند. شبکه سیستم قدرت مدرن از چندین زمینه کنترل شده ساخته شده است و برای عملکرد پایدار واحدهای سیستم قدرت، تولید کل هر ناحیه کنترل شده باید با تقاضای بار کلی بعلاوه تلفات سیستم مربوطه مطابقت داشته باشد و فرکانس سیستم را تنظیم می کند و به این ترتیب توان خط تی را مبادله می کند. به آن «کنترل فرکانس بار» (LFC) یا «کنترل تولید خودکار» (AGC) گفته می شود، که نقش های مهمی در بهره برداری و کنترل سیستم قدرت دارند. LFC بطور پیوسته فرکانس سیستم و توان خط تی را نظارت می کند و تغییرات خالص آنها از مقادیر اسمی شان (که به آن خطای کنترل ناحیه، ACE) را محاسبه می کند و به این ترتیب تنظیمات دریچه مولدها را کنترل می کند تا ACE را در مقدار کمینه خود حفظ کند. AGC، ACE را تا صفر می برد، و به صورت خودکار هر دوی فرکانس و توان خط تی به سمت صفر می روند.
این پروژه، طراحی و پیاده سازی یک الگوریتم تکاملی جدید یعنی GWO را برای اولین بار ارائه می دهد تا یک راهکار موثر و بهینه برای مسئله LFC در سیستم قدرت پیدا کند. یک سیستم قدرت حرارتی غیر بازگرمایشی (non-reheat) دو منطقه ای پر استفاده با و بدون GRC توربین بخار در مرحله اول مورد ملاحظه قرار می گیرد و پارامترهای کنترلر PI/PID با بکار گیری الگوریتم های GWO، CLPSO و EPSDE با استفاده از تابع هدف برپایه ITAE ، بهینه سازی می شوند. برای نشان دادن برتری الگوریتم GWO پیشنهادی، نتایج شبیه سازی با نتایج تعدادی روش بهینه سازی کلاسیک و فراابتکاری مانند CLPSO, EPSDE, hFA-PS, FA, hPSO-PS, PSO, DE, hBFOA-PSO, GA, Zn و غیره برای سیستم آزمون مشابه مقایسه شدند و بهبودهای قابل توجهی با کنترلر PID بهینه شده GWO، مشاهده شده است. تحلیل حساسیت برای نشان دادن مقاوم بودن کنترلر طراحی شده، با تغییر دادن پارامترهای سیستم و شرایط بارگذاری عملکردی، انجام می شود. شبیه سازی های حوزه زمانی مشخص می کنند که کنترلر پیشنهادی بسیار مقاوم است و عملکرد رضایت بخشی تحت شرایط عدم قطعیت فراهم می کند. علاوه بر آن، سه سیستم آزمون واقع گرایانه، برای مثال، سیستم برق آبی-حرارتی چند واحدی دو منطقه ای، سیستم حرارتی-برق آبی-گازی چند منبع چند واحد دو منطقه ای و نیروگاه تماماً حرارتی سه منطقه برابر، برای اعتبار یابی اثر بخشی الگوریتم GWO پیشنهادی در منطقه LFC مورد بررسی قرار گرفته اند. برای واقع بینانه کردن این پروژه، غیرخطی های سیستم قدرت مختلف مانند GRC، GDB و تاخیر زمانی سیستم انتقال در سیستم شامل شده اند. نتایج شبیه سازی نشان می دهند که کنترلر PID تنظیم شده GWO پیشنهادی می توانند غیرخطی های ذکر شده را مدیریت کنند و به میزان قابل توجهی عملکرد سیستم را بهبود بخشند. تعدادی الگوریتم کنترل پیشرفته را می توان برای زمینه پیشنهادی در سیستم LFC بکار گرفت تا دینامیک سیستم تحت شرایط آشفته در آینده بهبود یابد. در تحلیل حاضر، نویسندگان آشفتگی تک بار ، یعنی 1% از مقدار اسمی در t=0s را مورد ملاحظه قرار داده اند تا اثربخشی و مقاوم بودن کنترلر طراحی شده را شناسایی کنند. اما، در سیستم قدرت واقعی همیشه تغییرات بار تصادفی با دامنه های مختلف در کل روز را تجربه می کند. بنابراین، در آینده چنین نوع الگوی بار را مورد ملاحظه قرار می دهیم تا دینامیک های سیستم های قدرت معین را مورد ملاحظه قرار دهیم. علاوه بر آن، استابلیزرها (تثبیت کننده های) سیستم قدرت مختلف در هماهنگی با LFC جهت بهبود بیشتر پایدار سیستم را شامل می کنیم. این کار پژوهشی را می توان بعداً با ملاحظه تحلیل پیشآمدی، گسترش داد.
این پروژه به ارزیابی کنترل فرکانس با استفاده از کنترل PI و PID در سیستم قدرت به هم پیوسته با استفاده از الگوریتم بهینه سازی گرگ خاکستری پرداخته است. دو سیستم تست به کار رفته در این پروژه به صورت زیر می باشند.
نحوه اجرای شبیه سازی ها در قالب یک فایل گزارشکار آماده شده که به همراه این محصول ارائه می گردد. این شبیه سازی در محیط نرم افزار متلب (MATLAB) انجام شده و در ادامه نیز تعدادی از نتایج خروجی شبیه سازی ها قرار داده شده است:








دیدگاهها
هیچ دیدگاهی برای این محصول نوشته نشده است.