اطلاعات شبکه ۵ باسه IEEE
شبکه های استاندارد IEEE در مقالات علمی بسیار مرسوم هستند در این قسمت شما به اطلاعات شبکه IEEE 5 شینه می توانید به صورت رایگان دسترسی داشته باشید. تمامی اطلاعات مصرف ساعتی بارها و اندوکتانس و راکتانس خطوط این شبکه ، در اختیار شما قرار گرفته و به راحتی می توانید در مقالات علمی خود از آن ها استفاده و کار علمی خود را با مقاله مرجع مقایسه کنید. این موضوع می تواند به فهم داورها در داوری مقاله شما کمک شایانی کرده و در پذیرش مقاله تان کمک کند.
| گزارشکار: ندارد | شبیه سازی : ندارد |
IEEE 5 Bus system data
دانلود رایگان اطلاعات شبکه ۵ باسه IEEE
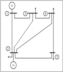
این محصول دیتای شبکه توزیع ۵ باسه استاندارد IEEE می باشد. در اکثر مقالات جهت شبیه سازی و بررسی نتایج مطالعات از اطلاعات شبکه ۵ باسه IEEE استفاذه میشود. اطلاعات مربوط به امپدانس شاخه ها و بار متصل به باس ها ( توان اکتیو و راکتیو ) و توان تولید هر باس و حدود توان انتقالی مجاز هر خط و اطلاعات مربوط به ترانسفورماتورها و ژنراتورهای موجود در شبکه در این محصول که به صورت یک PDF می باشد به ضورت رایگان برای دانلود گذاشته شده است . دیتای شبکه۳۰ باسه IEEE ، اطلاعات شبکه ۶ باسه IEEE ، اطلاعات شبکه ۱۴ باسه IEEE ، اطلاعات شبکه ۱۱۸ باسه IEEE هم به صورت کامل در PDF قرار داده شده است. دیتای شبکه ۳۳ باسه و ۶۹ باسه را هم میتوانید از سایت دانلود کنید.
اطلاعات شبکه 5 باسه IEEE
اگر می خاهید شبیه سازی های خود را بر روی شبکه 5 شینه IEEE انجام دهید. بعنوان مثال میخواهید هماهنگی رله و فیوز، مکانیابی DG ، جایابی خازن ، برنامه ریزی منابع تولید پراکنده یا هر چیز دیگر را روی شبکه 5 شینه IEEE بررسی کنید باید اطلاعاتی نظیر توان مصرفی هر شین، اندوکتانس و راکتانس تک تک خطوط این شبکه را داشته باشید تا بتوانید کار و ایده ی خود را با سایر مقالات علمی مقایسه کرده و بهبود یافتن نتایج خود را نشان دهید.
اطلاعات شبکه IEEE رایگان
اگر میخواهید مقاله ای در IEEE یا در الزویر چاپ کنید بهتر است از این شبکه های استاندارد در کار خود استفاده کنید. شما می توانید اطلاعات IEEE 5 باسه را به صورت رایگان از سایت دانلود نمایید.
اگر برای شبیه سازی از متلب استفاده می کنید دیگر نیاز نیست این اطلاعات را وارد کنید، ما از قبل برای شما آماده کرده ایم!


دیدگاهها
هیچ دیدگاهی برای این محصول نوشته نشده است.